涵洞作為宣泄地面水流而橫穿路基的小型排水構造物,在公路工程中有廣泛應用,根據已建工程統計,每公里公路約3-5處涵洞。其中蓋板涵因其結構簡單、受力明確、施工方便成為主選結構形式,同時隨著鋼波紋管材料的發展,鋼波紋管涵被越來越多的應用。本文以某公路項目為依托,闡述蓋板涵與鋼波紋管涵的設計原理、設計方法與流程,比較蓋板涵與鋼波紋管涵的優缺點,并為類似工程提供借鑒。
1.工程背景及設計要點
以公路工程為例,全長約75公里,一級公路,紅線寬18m,共設置涵洞109道,其中蓋板涵32道,波紋管涵48道。工程地處干旱平坦地區,利于開展鋼波紋管涵的應用并在該區域有相應工程經驗,綜合各種因素確定跨徑小于3m處涵洞選用鋼波紋管涵洞形式,跨徑大于3m處涵洞選用蓋板涵或箱涵。
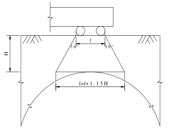
鋼筋混凝土蓋板涵采用裝配式設計,預制蓋板按99厘米寬度計算及設計,蓋板按兩端簡支板計算內力,不考慮涵臺的水平壓力,按承載能力極限狀態和正常使用極限狀態分別進行計算和驗算。計算暗涵蓋板內力時,涵洞頂上活載引起的豎向土壓力,按車輪著地面積的邊緣向下作30°角分布計算,明涵蓋板則按45°角分布計算,土容重18kN/m3。涵臺的計算按四鉸框架模式進行,涵臺按上、下端簡支的豎梁計算。蓋板涵具體形式如圖1.1所示。
圖1.1 蓋板涵圖示
金屬波紋涵管(鋼波紋管涵)設計中假定波紋管和土體均為彈性體,不考慮涵洞頂土柱和周圍填土間的摩擦力,采用角度分布法計算,半無限彈性體理論核算。對于埋置式波紋管,假定波紋管和土體在界面上沒有滑移,它們之間的相互作用通過共同的節點位移實現。當波紋管的柔度達到一定的數值后,穩定問題成為起控制性的因素。因此采用幾何非線性的分析方法,從而能夠考慮第二類穩定問題,也就是根據當前坐標來建立平衡方程。同樣按土柱重理論計算,內摩擦角φ=30°,波紋管具體形式如圖1.2所示。

(a)波紋管涵平面圖

(b)波紋管涵橫斷面圖
圖1.2 波紋管涵圖示
2 涵洞設計方法
在公路工程中涵洞的設計首先要確認涵洞的位置,與橋梁設計不同,涵洞位置比較靈活,主要考慮兩個方面:排水需求與橫向深溝。一方面在某段較長距離道路中需要溝通道路兩側排水滿足排水需求,另一方面道路里程中遇到較深較大溝渠時,防止路基沖刷需要設置涵洞聯通兩側,這是涵洞設置的主要原因,如圖2.1所示。在確定涵洞位置后,需要確定的孔徑及形式。涵洞的孔徑根據跨越溝渠的大小,另一方面需要進行水文計算,確定涵洞斷面流量以確認孔徑大小。本設計跨徑小于3m處涵洞選用鋼波紋管涵洞形式,因為波紋管涵技術雖然較為成熟但是從安全角度出發為選取較大跨徑波紋管涵,跨徑大于3m處涵洞選用蓋板涵或箱涵,箱涵一般適用于較大跨徑涵洞,此文不做闡述。確定涵洞跨徑及形式后,開展細化設計。本章即介紹水文計算方法,并分別介紹蓋板涵及波紋管涵的細化設計。
圖2.1 地形圖
2.1 涵洞水文計算及孔徑選取
流量是涵洞設計確定其形式和孔徑的一個主要數據。公路沿線跨越的小河溝,其匯水絕大多數屬于小流域范圍內,由于流域面積小,洪峰的淹沒范圍也小,且洪水歷時短,不為人們所注意,沿河溝無水文觀測站,因此大多屬于無觀測資料的情況。目前全國各地公路、鐵路、水利部門根據歷年實踐經驗和理論探討,制定各種小流域流量計算公式和相應的圖表,實際運用時,這些公式和圖表可做參考,并應以多種計算方法予以比較。在涵洞設計中主要參考《公路涵洞設計細則》,其中給出暴雨經驗公式及徑流公式用以計算涵洞流量。
2.1.1 暴雨推理公式
暴雨推理法是一種半理論半經驗的計算方法,通過損失參數和匯流時間,體現地區差異性,公式適用于匯水面積F<100km2的流域:

式中:QP——規定頻率為P%的設計流量(m3/s)
SP——頻率為P%的雨力(mm/h)
F——匯流面積(km2)
推理公式本身具有統一的模式,通過其中的兩個因子,即損失參數μ和匯流時間τ來充分體現各地區的差異性。按超滲產流概念,假定把地面點的損失概況簡化為產流歷時內損失等于常數,影響損失主要考慮土壤種類、植被、降雨、匯水面積及地形情況等幾項。并將匯水區內降水概化為平均凈雨過程,假定同一時段的匯水區內凈雨相同,主要考慮匯水區特種、降雨量和地形等因素。
2.1.2 徑流公式
徑流形成法是目前公路部門普遍采用的一種計算方法,其徑流成因簡化公式適用于匯水面積F<30km2的小流域。交通部公路科學研究所暴雨推理公式為:

式中:φ——地貌系數,根據地形、匯水面積F、主河溝平均坡度決定
z——被植被或坑洼滯留的徑流厚度(mm)
徑流形成法以暴雨資料為主推算小流域洪水流量。它是依據洪峰流量與主要影響因素之間的關系而建立的,認為出口斷面的最大洪峰流量是一定的暴雨在流域內經過產瘤與匯流兩過程而形成的。為了是公式簡單實用,在某些過程作了適當的簡化。公式中認為影響流量的主要因素取決于匯水區幾何參數、降雨情況、土壤種類及吸水情況,徑流及徑流厚度以及主河溝粗糙系數等。
2.1.3 涵洞孔徑選取
在確定涵洞斷面流量后,按照無壓力式涵洞進行水力計算確定涵洞孔徑。按照無壓力涵洞計算確定涵洞最小孔徑,計算得到蓋板涵一般選用的孔徑的水利計算表見表2.1。
表2.1 涵洞水利計算表
涵洞跨徑
(m) |
涵洞凈高
(m) |
適用流量
(m3/s) |
臨界水深
(m/s) |
臨界流速
(m/s) |
|
1 |
1 |
2 |
0.74 |
2.7 |
|
2 |
2 |
17.2 |
1.4 |
3.8 |
|
3 |
3 |
30.7 |
2.2 |
4.6 |
|
4 |
4 |
63.1 |
3.67 |
6.9 |
2.2 蓋板設計
本工程蓋板涵跨徑以2m蓋板涵為例:計算跨徑L0=2m,單側擱置長度0.25m,蓋板板端厚d1=22cm,蓋板板中厚d2=27cm,蓋板寬b=2.5m,混凝土強度等級為C30,主拉鋼筋等級為HRB400,主筋直徑為18mm,蓋板結構圖如圖2.2。

圖2.2 蓋板結構圖
2.3 波紋管涵設計
2.3.1 波紋管涵構造設計
本工程鋼波紋管涵以2m直徑為例,填土高度最小為0.6m,選擇整體式環形波紋管以適用于小孔徑和淺埋深環境。管壁厚度根據規范可以在2-5mm之間選擇,出于安全考慮選擇偏大的4mm,相對可行。地基處理方式參考地方規范一般要求,地基選取砂礫墊層,本次設計采用80cm砂礫墊層回填地基。基礎埋深因存在季節性凍土存在,計算埋深1.9m。
2.3.2 波紋管涵結構驗算
根據規范確定波紋管的參數之后,需要進行應力的驗算。先要確定荷載,波紋管涵上荷載與其他類型涵洞并無太大差別,汽車荷載考慮了30度的擴散,如圖2.5所示。土的重力考慮土拱系數,荷載+恒載的大小隨覆土高度并非線性變化,如圖2.6所示,在覆土高度小的時候活載比例較大,而當覆土高度大于兩米甚至又可以忽略活載,本次設計填土高度為0.6m,活載所占比例較大,對涵洞受力影響較大。不過在通過規范所列公式計算波紋管應力時,結果表明波紋管的承載能力很大,0.6m級別的填土加活載對其應力影響很小。

圖 2.5 活載加載圖示
圖2.6 荷載隨填土高度變化圖示
本設計分別試用Q235及Q345鋼材進行計算,軸向壓應力均為11.4MPa,屈曲應力分別為122.8MPa及138.3MPa,均滿足計算要求。
3.蓋板涵與波紋管涵對比分析
蓋板涵作為目前最為常用的涵洞形式有其明顯的優勢,但隨著材料及工藝發展,鋼波紋管涵亦逐漸顯現其優勢:鋼波紋管涵造價低,材料費用減小10%~30%;強度高且自重輕,鋼材抗拉、抗壓、抗剪強度高;施工周期短:工廠化生產,現場拼裝;變形適應性強:對基礎要求低,能有效減少施工開挖工作量;能夠較好解決多年凍土等地基不良地區地基不均勻沉降導致的涵洞開裂破壞問題,變形適應能力強。關于蓋板涵及波紋管涵的對比分析見表3.1。
表3.1 蓋板涵與波紋管涵對比分析表
|
比較項 |
工程經驗 |
推廣程度 |
應用條件 |
計算方法 |
結構受力 |
水力計算 |
安全系數 |
活載影響 |
土載影響 |
地基要求 |
施工速度 |
蓋板涵 |
經驗豐富 |
廣泛應用 |
靈活應用 |
較為成熟 |
結構簡單受力明確 |
滿足2m3/s |
1.7 |
數值上相同 |
數值上基本相同 |
高 |
速度慢 |
|
鋼波紋管涵 |
成熟階段 |
暫無規范可依 |
受氣候防腐等影響 |
參考國外簡化計算 |
波紋管受力復雜 |
滿足1.5m3/s |
11 |
變形協調能力強 |
速度很快 |
4. 鋼波紋管涵與蓋板涵洞施工工藝框圖對比
5.鋼波紋管涵與蓋板涵施工難易對比分析
|
對比項目 |
鋼制波紋管涵
(直徑1米,長度3米) |
蓋板涵
(直徑1米,長度3米) |
產品優勢 |
|
耐壓強度 |
350Mpa |
69Mpa—100Mpa |
由于其獨特的波紋結構,使用其比同口徑的水泥管耐壓強度大得多。 |
|
管涵重量 |
300公斤/根 |
1500公斤/根 |
鋼波紋管的重量只有同口徑水泥管的1/5,即使在窄的場所沒有運輸設備,人工也可以運輸。 |
|
運輸方式 |
即使在窄的場所沒有運輸設備,人工也可以搬運。 |
必須使用吊車,鉤機,或鏟車搬運。 |
運輸簡單方便,減少成本的支出。 |
|
使用壽命 |
鋼波紋管涵是采用鋼管熱浸鍍鋅,所以使用壽命長,壽命為80-100年,在腐蝕性特別大的環境下使用時,采用內外表面瀝清附層的鋼制波紋管,可在原使用壽命基礎上提高約20年上。
|
沒有防腐層,最多使用20—25年 |
使用時間長,中期不需要修復工程 |
|
施工與工期 |
連接方式簡單,可縮短工期;較輕,運輸方便,外加少量的基礎加工即可 |
對路基有要求,安裝施工困難,工期相對時間較長 |
鋼波紋管涵具有卓越的路用性能,尤其是對地基要求低、施工簡易、能快速安裝、大大縮短工期是普通涵管無法相比的 |
|
經濟特性 |
排水管道工程費用相對較低,在交通不方便的地方施工時,用人工即可,節省了叉車,吊車等機械設備的費用 |
除安裝費用外,還要支出叉車,吊車的費用 |
鋼波紋管的施工費用只需要水泥管施工費用的90%左右 |
6.鋼波紋管涵與蓋板涵造價對比
|
孔徑 |
涵長 |
鋼筋混凝土蓋板涵 |
鋼波紋管涵 |
綜合造價
(元) |
每延米單價
(元/米 ) |
綜合造價
(元) |
每延米單價
(元/米) |
|
1-1.0 |
80 |
336000 |
4200 |
240000 |
3000 |
|
1-1.5 |
80 |
408000 |
5100 |
320000 |
4000 |
|
1-2.0 |
80 |
544000 |
6800 |
400000 |
5000 |
|
1-2.5 |
80 |
624000 |
7800 |
560000 |
7000 |
|
1-3.0 |
80 |
960000 |
12000 |
800000 |
10000 |
|
1-4.0 |
80 |
1456000 |
18200 |
1200000 |
15000 |
|
1-5.0 |
80 |
2280000 |
28500 |
1680000 |
21000 |
|
1-6.0 |
80 |
2824000 |
35300 |
2240000 |
28000 |
7.1外觀質量要求
波紋鋼管的外觀質量應符合表9的規定
表9 波紋鋼管的外觀質量
|
序號 |
項目 |
要求 |
|
1 |
切扣 |
平直 |
|
2 |
顏色 |
表面色澤均勻,無明顯缺損 |
|
3 |
整體外觀 |
表面平整光滑,無損傷、裂紋、孔洞,波紋無明顯變形 |
|
4 |
鋅層 |
表面光滑、均勻,無滴瘤、剝落、漏鍍,無殘留的溶劑渣 |
|
5 |
焊縫表面 |
無氣孔、裂紋、夾渣及飛濺物等缺陷,焊縫處鍍鋅層符合10的要求 |
|
6 |
機械劃痕 |
不明顯 |
|
7 |
端面錯位 |
≤5mm |
|
8 |
波紋咬合 |
應咬合緊密,并且連續、無褶皺 |
7.2防腐
7.2.1 采用連續熱鍍鋅鋼板加工波紋鋼管,其加工后的有效鍍鋅層厚度和質量不應低于表10的規定。
表10 熱浸鍍鋅質量要求
|
項目 |
要求 |
|
單面附著量 |
熱浸鍍鋅波紋鋼管和管箍≥300g/m3,或鍍鋅層平均厚度≥42um,最小厚度≥32um;
環形波紋鋼管、波紋鋼板件、法蘭盤≥600g/m2,或鍍鋅層平均厚度≥84um,最小厚度≥62um;
螺栓、螺母≥350g/m3,或鍍鋅層平均厚度≥50um,最小厚度≥36um; |
|
鍍鋅層附著性 |
鍍鋅層應與金屬結合牢固,經錘擊實驗不剝離,不凸起 |
|
外觀質量 |
鋅層應均勻完整、顏色一致,無漏鍍缺陷,表面光滑,不允許有流掛、滴瘤或結塊等現象 |
結論
本文針對蓋板涵及鋼波紋管涵的設計分析,得到以下結論:
(1)蓋板涵與鋼波紋管涵的設計可以通過暴雨推理公式及徑流公式進行水文計算,用以確定涵洞的孔徑及形式,這是涵洞設計中的主要部分。
(2)本工程中涉及到的蓋板涵及鋼波紋管涵各設計參數能夠滿足各自受力需求,可為類似工程提供借鑒。
(3)金屬波紋涵管(鋼波紋管涵)較之與蓋板涵有造價低、不需墩臺、施工簡單、運輸方便、安裝快捷等特點,值得更加深入研究與推廣。
(4)本文著作權最終歸衡水匯德所有,嚴禁轉發,如有發現,必追究法律責任
關鍵詞:波紋涵管,金屬波紋涵管,鋼波紋管
本文[金屬波紋涵管(鋼波紋管涵)和蓋板涵對比報告分析]來源于衡水匯德路橋材料有限公司——一家專業生產波紋涵管廠家
鏈接地址:www.hetongcun.cn/178.html
本文禁止轉載和抄襲,違者必究!